
扫二维码查看手机官网
一、电机概况
YZO系列三相异步振动电机是我公司总结多年生产ZG系列惯性振动器的经验,自行研制开发的。
YZO系列三相异步振动电机为机械通用型激振源,如振动给料机、振动输送机、振动放矿机、振动落砂机、振动筛分机、料仓的振动防闭塞装置等。应用于电力、机械、建材、矿山、铸造、粮食、冶金、化工、港口等行业。
二、特点
YZO系列三相异步振动电机具有以下优点:
1、激振力与功率适当,机体质量轻、体积小。
2、利用平稳的回转产生振动力,噪声低。
3、全封闭结构,外壳防护等级IP54、IP55。
4、轴承寿命2达5000小时,4、6、8达10000小时。
5、调节偏心块夹角,就可实现无级调整激振力。
6、可多机组合形成多种振动形式。
7、机种丰富,能使振动机械的工作需要。
三、使用条件
环境温度:-15℃~+40℃ 绝缘等级:F级
海 拔:<1000m 电源频率:50 Hz
电 压:380V 工作方式:连续S1
接 法:Y/△ 安装方式:所需方向
四、型号举例

五、技术参数

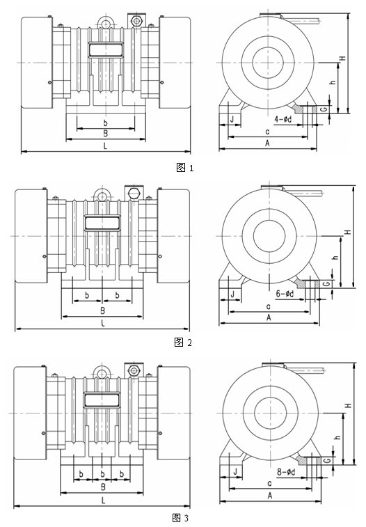
六、外型及安装尺寸


联系人:徐先生
手机:13606278586
电话:0513-88622487
邮箱:haqtx@126.com
地址:江苏省南通市海安市曲塘镇
Copyright © 2022-2025 南通市恒昌石油机械有限公司 All rights reserved. 版权所有
中华人民共和国非经营性ICP编号:苏ICP备12021191号